Η Ferrari δεν είναι απλώς μια εταιρεία αυτοκινήτων, είναι ένα σύμβολο πάθους, ταχύτητας και τεχνολογικής πρωτοπορίας. Αυτή τη φορά, το Μαρανέλο επιστρέφει στο προσκήνιο με μια νέα πατέντα που αφορά πλαϊνή έξοδο εξάτμισης, ένα στοιχείο που σπάνια συναντάμε στη σύγχρονη αυτοκίνηση λόγω των τεχνικών προκλήσεων που επιφέρει.
Οι πλαϊνές εξατμίσεις αν και εντυπωσιακές, συνοδεύονται από σοβαρά μειονεκτήματα: απαιτούν ιδιαίτερη αρχιτεκτονική πλαισίου, επηρεάζουν την αεροδυναμική και συχνά αυξάνουν το κόστος παραγωγής. Όμως, η Ferrari φαίνεται πως βρήκε τη χρυσή τομή.
Ένα διαφορετικό όραμα από το Μαρανέλο
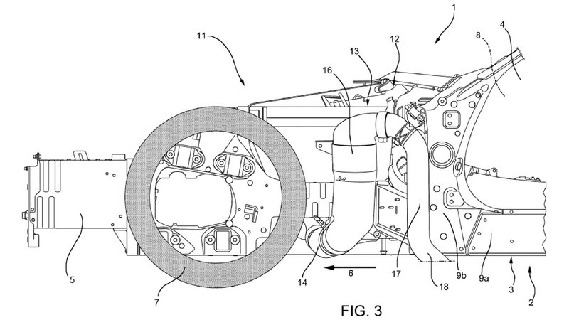
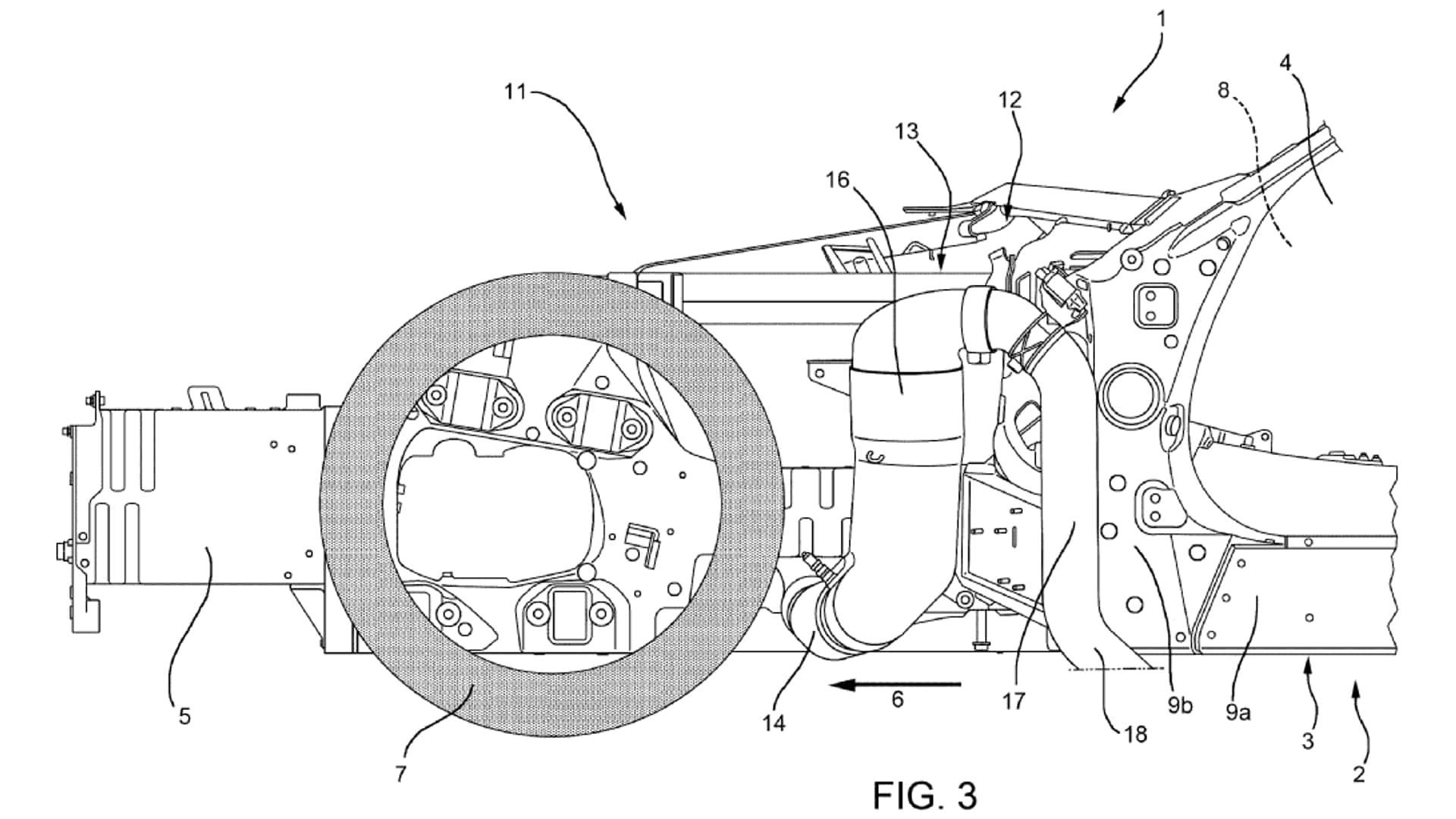
Σύμφωνα με την πρόσφατη πατέντα, η Ferrari προτείνει ένα σύστημα που «δεν υποφέρει από τα μειονεκτήματα» των παραδοσιακών πλαϊνών εξατμίσεων και μπορεί να κατασκευαστεί «με απλό και οικονομικό τρόπο». Η ιδέα βασίζεται σε έναν ιδιαίτερο σχεδιασμό της διαδρομής των σωληνώσεων: η εξάτμιση ξεκινά πίσω από τους εμπρός τροχούς, περνά επάνω και γύρω από δομικά μέλη του πλαισίου, και καταλήγει σε διπλές απολήξεις ακριβώς πίσω από την καμπίνα των επιβατών.
Αυτός ο σχεδιασμός δεν είναι μόνο εντυπωσιακός οπτικά, αλλά έχει και πρακτική αξία. Σύμφωνα με τη Ferrari, η διάταξη μπορεί να απορροφήσει μέρος της κινητικής ενέργειας σε περίπτωση μετωπικής σύγκρουσης, περιορίζοντας την πιθανότητα να πλησιάσει ο τροχός την καμπίνα. Παράλληλα, μειώνει το βάρος του αυτοκινήτου, αφού δεν απαιτούνται πρόσθετα στηρίγματα ή ενισχύσεις.
Παράδοση και εξέλιξη
Δεν είναι η πρώτη φορά που η Ferrari πειραματίζεται με πλαϊνές εξατμίσεις. Το 2013 είχε καταθέσει παρόμοια πατέντα για ασύμμετρη διάταξη, όπου η έξοδος υπήρχε μόνο στη μία πλευρά. Αυτή τη φορά όμως, οι Ιταλοί επιστρέφουν σε μια πιο “ορθόδοξη” λύση, με διπλή έξοδο, έτοιμη να δώσει φωνή σε κάποιο μελλοντικό supercar. Η Ferrari έχει ήδη ανακοινώσει ότι μέσα στα επόμενα πέντε χρόνια θα παρουσιάσει 20 νέα μοντέλα, εκ των οποίων αρκετά θα είναι περιορισμένης παραγωγής. Αυτό σημαίνει ότι μια τέτοια τολμηρή τεχνολογική προσέγγιση θα μπορούσε να εμφανιστεί σε κάποια από τις πιο συλλεκτικές και αποκλειστικές δημιουργίες της μάρκας.
ΔΙΑΒΑΣΤΕ ΕΠΙΣΗΣ:
SC40: Η Ferrari αποτίει φόρο τιμής στην F40 με μια μοναδική δημιουργία με 830 PS (photos)
Επίσημο: Η πρώτη ηλεκτρική Ferrari θα έχει ισχύ άνω των 1.000 PS αλλά δεν θα είναι supercar (photos)





ΔΗΜΟΦΙΛΗ




_77761_472846_type13129.jpg)
