H κατάθεση από την πλευρά της Mazda μια σειράς πατεντών που σχετίζονται με ένα ένα νέο περιστροφικό κινητήρα ή αλλιώς Wankel φούντωσαν πάλι τις φήμες για ένα νέο σπορ μοντέλο που θα αποτελέσει το διάδοχο τόσο της τελευταίας γενιάς του RX-7 όσο και του πιο παλιού RX-8.
Η ιαπωνική εταιρεία δεν έχει κρύψει ποτέ την πρόθεσή της να συμπεριλάβει και πάλι στη γκάμα της ένα περιστροφικό σύνολο, αλλά όπως κατά καιρούς έχουν αναφέρει στελέχη της δεν θα προχωρήσει σε μια τέτοια κίνηση να δεν πληρούνται και με το παραπάνω οι προδιαγραφές εκπομπής ρύπων.
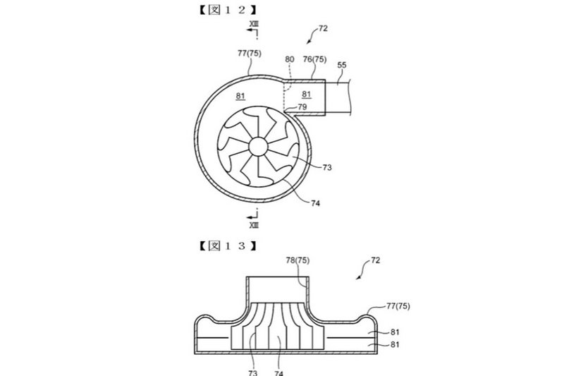
Τα σκίτσα πάντως των πατεντών δείχνουν μια νέα σχεδίαση της πλευρικής θύρας εξαγωγής των καυσαερίων, που ενδεχόμενα θα μπορεί να βελτιώνει την οικονομία. Ταυτόχρονα υπάρχει και μια νέα σχεδίαση του υπερσυμπιεστή, ειδικά για αυτόν τον κινητήρα.
Αυτό που δεν δείχνουν είναι μια αποκλειστική χρήση του ως range extender υβριδικών και ηλεκτρικών μοντέλων. Για το σκοπό αυτό πάντως ο Wankel, με το μικρό του μέγεθος, τα λίγα cc και τη υψηλή του απόδοση δείχνει ιδανικός.
Εμείς πάντως απλά σημειώνουμε πως το 2020 η Mazda θα συμπληρώσει έναν αιώνα ζωής και αυτό ίσως είναι μια καλή ευκαιρία για να παρουσιάσει ένα νέο σπορ μοντέλο. Ίσως την έκδοσή παραγωγής του εντυπωσιακού RX-Vision Concept του 2015, με ή χωρίς νέο περιστροφικό κινητήρα.




ΔΗΜΟΦΙΛΗ





_77761_470067_type13129.jpg)