Η Toyota προσπαθεί να τονώσει το σπορ προφίλ της και το πρώτο της βήμα προς αυτήν την κατεύθυνση ήταν η αναγέννηση μετά από αρκετά χρόνια της Supra. Θα ακολουθήσει η νέα, δεύτερη γενιά του GT86, ενώ το επιστέγασμα αυτής της προσπάθειας θα είναι η παρουσίαση ενός hyper car με τα σήματά της.
Το οποίο θα παραπέμπει στα επιτυχημένα αγωνιστικά της μάρκας στους αγώνες αντοχής ειδικά και στις 24 Ώρες του Le Mans ειδικά. Κρίνοντας από διάφορες φωτογραφίες και video που έχουν κυκλοφορήσει και δείχνουν ακόμα και τον πρόεδρο της εταιρείας Akio Toyoda να το οδηγεί, διαφαίνεται πως η εξέλιξή του προχωρά με γρήγορους ρυθμούς.
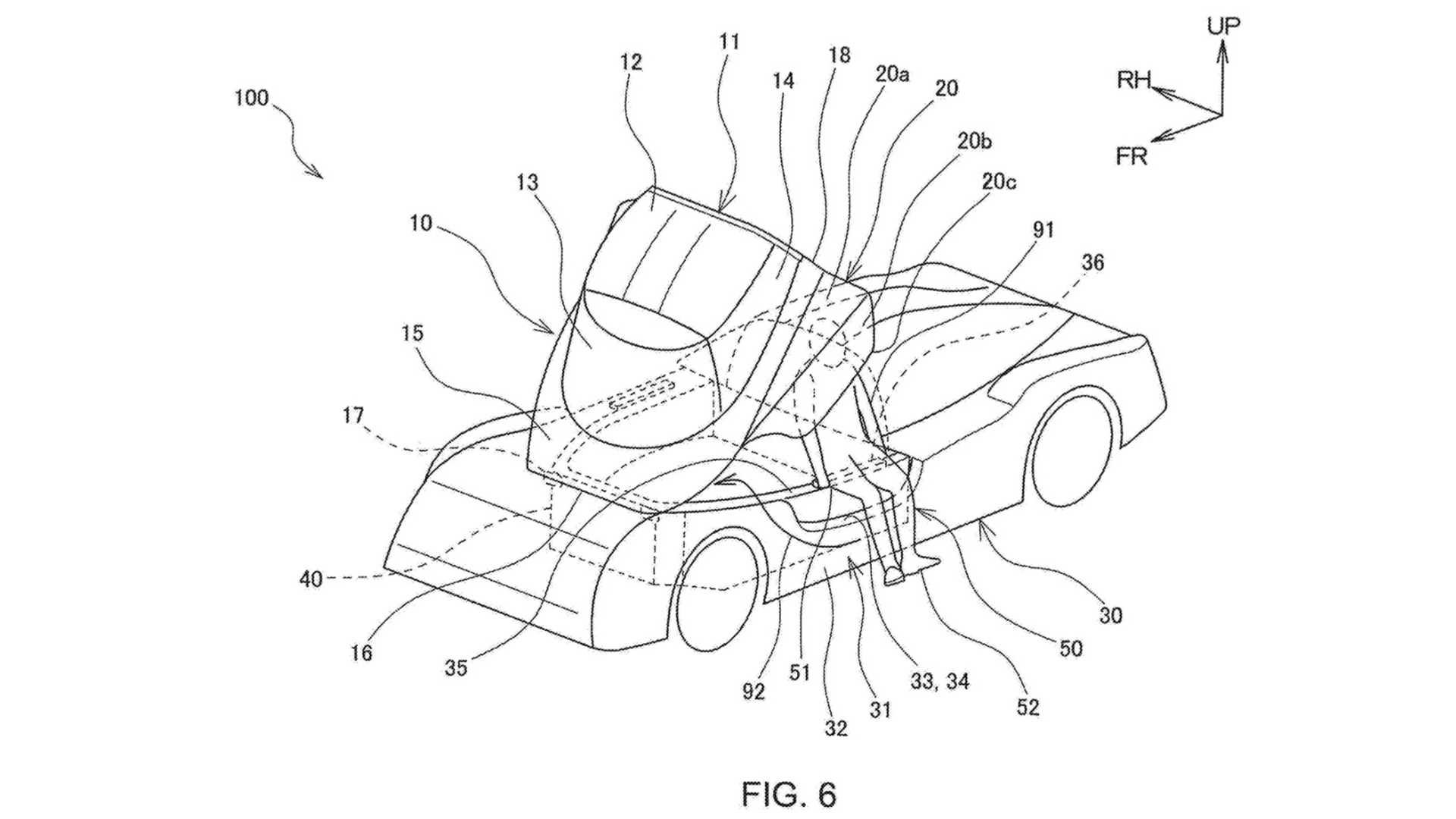
Μια επιπλέον ένδειξη για αυτό είναι και δύο πατέντες που κατέθεσε η ιαπωνική εταιρεία στις ΗΠΑ. Και οι οποίες όπως φαίνεται στο αντίστοιχο σκίτσο αφορούν μια οροφή που μετακινείται ολόκληρη προς τα πάνω μαζί με το παρμπρίζ. Στην όλη κατασκευή ενσωματώνονται και οι πόρτες.
Η μια πατέντα έχει σχέση με τον τρόπο απασφάλισης της πόρτας προκειμένου να μπορεί κανείς να την ανοίξει, ενώ η δεύτερη έχει σχέση με τη διαμόρφωση των μαρσπιέ του αυτοκινήτου, που όπως είπαμε είναι σχεδόν βέβαιο πως είναι το hyper car, προκειμένου να διευκολύνεται η είσοδος και η έξοδος.



_77761_387492_type13028.jpg)
ΔΗΜΟΦΙΛΗ





