Σύμφωνα με την υπ’ αριθμόν 0371822 Α1/2018 δημοσίευση του Γραφείου, είναι πιθανόν να χρησιμοποιηθούν πλαϊνές πόρτες που να διαθέτουν ηλεκτρομηχανισμό για να ανοιγοκλείνουν, σε κάποια από τα μοντέλα της Chevrolet όπως και των εταιρειών που συνιστούν την General Motors.
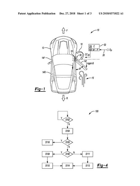
Η GM υπέβαλε την αίτηση κατοχύρωσης ευρεσιτεχνίας τον Ιούνιο του 2017. Στα σχήματα που συνοδεύουν την πατέντα διακρίνεται σε κάτοψη μια Chevrolet Corvette, πιθανότατα η C7. Βάσει των ως τώρα πληροφοριών, δεν είναι σίγουρο ότι θα χρησιμοποιηθεί μόνο σε αυτή ή και σε άλλα, μεγάλα μοντέλα της Chevrolet (όπως και άλλων εταιρειών της General Motors), δηλαδή SUV ή πολυτελή sedan. Στον αμερικανικό Τύπο υπάρχουν πληροφορίες ότι στη Chevrolet εξελίσσουν ένα νέο σπορ μοντέλο με τον κινητήρα στο κέντρο, ωστόσο αυτές δεν έχουν επιβεβαιωθεί από την εταιρεία.
Στη δημοσίευση της ευρεσιτεχνίας φαίνεται ότι δεν πρόκειται για έναν απλό κινηματικό μηχανισμό, αλλά υπάρχουν αισθητήρες που θα υπολογίζουν τις εξωτερικά ασκούμενες δυνάμεις (π.χ. δυνατός αέρας) ή θα ανιχνεύουν εάν το αυτοκίνητο βρίσκεται κοντά σε κάποιο εμπόδιο, πριν ο μηχανισμός ανοίξει πόρτες.




ΔΗΜΟΦΙΛΗ





