Η Mazda είναι γνωστή για το «επαναστατικό» της πνεύμα. Όταν οι υπόλοιποι ακολουθούσαν το downsizing και την υπερτροφοδότηση, εκείνη ανέπτυσσε τους Skyactiv με υψηλή σχέση συμπίεσης και έδινε έμφαση στην αποδοτικότητα χωρίς τούρμπο.
Σήμερα, η ίδια λογική διαφοροποίησης εκφράζεται μέσα από μια νέα τεχνολογική πρόταση που έρχεται μέσα από την πρόσφατα δημοσιευμένη πατέντα της: έναν εξάχρονο κινητήρα (κάτι αντίστοιχο με αυτό που παρουσίασε πρόσφατα και η Porsche), που επιχειρεί να αναδιαμορφώσει την έννοια της καύσης.
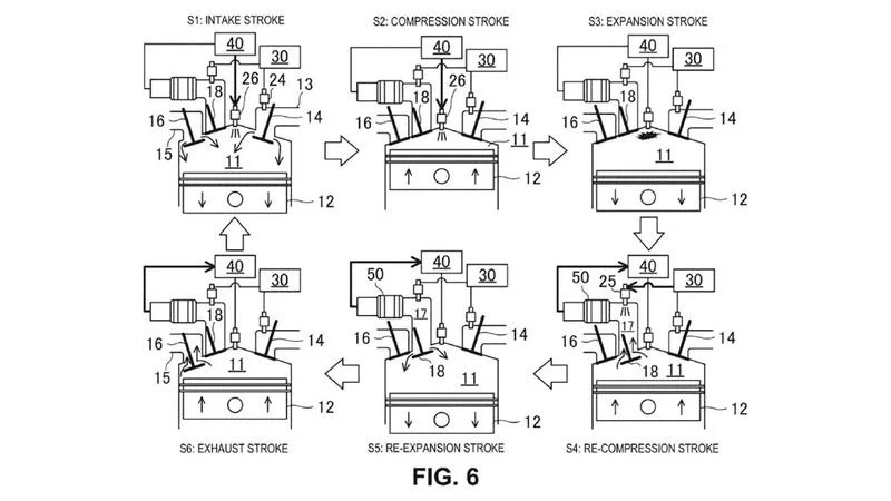
Πώς λειτουργούν οι έξι χρόνοι καύσης
Ο πυρήνας του συστήματος βασίζεται στον κλασικό τετράχρονο κύκλο (εισαγωγή, συμπίεση, καύση, εξαγωγή), στον οποίο όμως, η Mazda προσθέτει δύο επιπλέον φάσεις:
- Recompression (ανασυμπίεση): Τα καυσαέρια που μόλις έχουν εξέλθει δεν αποβάλλονται πλήρως, αλλά επανασυμπιέζονται και οδηγούνται σε ειδικό θάλαμο.
- Αποσύνθεση καυσίμου: Σε αυτό το στάδιο, βενζίνη εγχέεται στο θερμό ρεύμα καυσαερίων. Η υψηλή θερμοκρασία και ο καταλύτης ενεργοποιούν μια χημική διαδικασία θερμικής αποσύνθεσης (fuel reforming).
Το αποτέλεσμα είναι η βενζίνη να διαχωρίζεται σε υδρογόνο και στερεό άνθρακα. Το υδρογόνο επιστρέφει στον θάλαμο καύσης για να καεί, ενώ ο άνθρακας επικολλάται στα τοιχώματα του καταλύτη και συλλέγεται σε ξεχωριστό δοχείο.
Χημεία πίσω από την ιδέα
Η αντίδραση που επιχειρεί να εκμεταλλευτεί η Mazda θυμίζει διαδικασίες αναμόρφωσης καυσίμου (fuel reforming) που χρησιμοποιούνται σε βιομηχανικές εφαρμογές. Υπό υψηλή θερμοκρασία, τα μόρια της βενζίνης (υδρογονάνθρακες) διασπώνται σε υδρογόνο (H2) και άνθρακα (C).
- Το υδρογόνο έχει πολύ καθαρή καύση, αφού παράγει κυρίως υδρατμούς.
- Ο άνθρακας παραμένει στερεός, αποτρέποντας την έκλυση CO2 στην ατμόσφαιρα.
Η καινοτομία εδώ είναι ότι η διαδικασία γίνεται εσωτερικά, δηλαδή μέσα στον ίδιο τον κινητήρα, χωρίς την ανάγκη εξωτερικής παραγωγής και αποθήκευσης υδρογόνου.
Το πρόβλημα της αποθήκευσης άνθρακα
Η θεωρία είναι εντυπωσιακή, η πράξη όμως κρύβει δυσκολίες. Ένα μεσαίο SUV, όπως το Mazda CX-5, μπορεί να παράγει περίπου 38 kg στερεού άνθρακα ανά ένα πλήρες ρεζερβουάρ βενζίνης. Αυτός ο άνθρακας πρέπει να αποθηκευτεί προσωρινά σε δοχείο και στη συνέχεια να αφαιρεθεί σε συνεργείο ή κάποιο ειδικό χώρο περισυλλογής. Η λύση αυτή, αν και μειώνει τις εκπομπές, δημιουργεί νέα προβλήματα όπως αυξημένο βάρος, συχνή συντήρηση και διαχείριση υπολειμμάτων. Ουσιαστικά, η ατμόσφαιρα καθαρίζει, αλλά το συνεργείο μετατρέπεται σε σημείο συλλογής αποβλήτων άνθρακα, κάνοντας το εγχείρημα δύσκολο να υιοθετηθεί μαζικά, τουλάχιστον προς το παρών
ΔΙΑΒΑΣΤΕ ΕΠΙΣΗΣ:
Mazda3: «Πάτησε» Ελλάδα το ανανεωμένο μοντέλο με τους 186 PS (τιμές-εκδόσεις)
Επίσημο: Ένα βήμα πριν την επιστροφή του Mazda RX-7 - Έρχεται με ρότορα και 370 PS
Mazda EZ-60: H ιαπωνική «απάντηση» στο Tesla Model Y (photos)



_77761_436393_type13028.jpg)
ΔΗΜΟΦΙΛΗ




_77761_457660_type13129.jpg)
