Ακούγεται οξύμωρο, όμως ενδεχομένως να γίνει πράξη. Ένα όχημα αυτόνομης οδήγησης να χρησιμοποιείται για την εκμάθηση υποψηφίων οδηγών χωρίς την παρουσία εκπαιδευτή στη θέση του συνοδηγού.
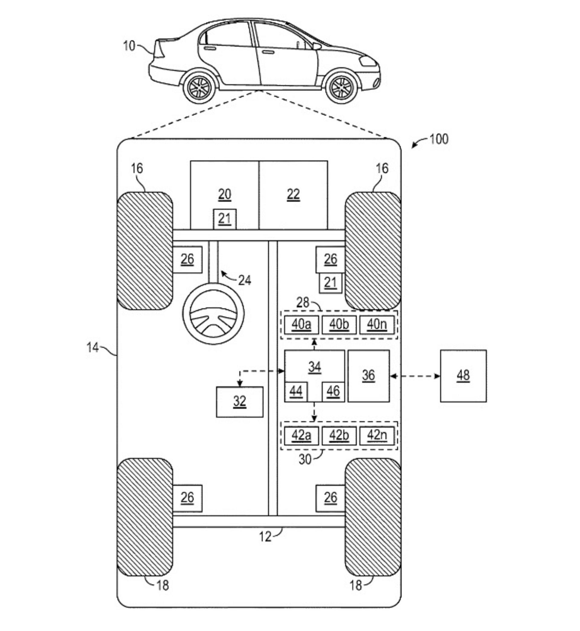
H General Motors κατέθεσε αίτηση στο Γραφείο Διπλωμάτων Ευρεσιτεχνίας και Εμπορικών Σημάτων των Ηνωμένων Πολιτείων (United States Patent and Trademark Office) για την εξέλιξη και κατασκευή ενός οχήματος το οποίο θα εκπαιδεύει και θα αξιολογεί τους υποψήφιους οδηγούς στη διαδικασία να αποκτήσουν άδεια οδήγησης.
Η αίτηση καταχωρήθηκε στις 14 Οκτωβρίου 2020 και δημοσιεύτηκε από το Γραφείο στις 14 Απριλίου τρέχοντος έτους. Σε αυτή, προτείνεται η δημιουργία ενός οχήματος το οποίο θα έχει τη δυνατότητα να απενεργοποιεί σταδιακά μερικά από τα συστήματά του και να επιτρέπει σε αυτόν που βρίσκεται πίσω από το τιμόνι να αναλαμβάνει τον έλεγχο και να πραγματοποιεί τη διαδικασία οδήγησης.
Το σύστημα αυτόνομης οδήγησης θα μπορεί να κρίνει και να αξιολογεί την ικανότητα του οδηγού και θα αναλαμβάνει πάλι τον έλεγχο του αυτοκινήτου εάν αυτός δεν αντιδράσει έγκαιρα και όπως χρειάζεται για να διαχειριστεί μια κατάσταση. Χάρη στους αισθητήρες που θα έχει το όχημα θα παρέχει στον οδηγό πληροφορίες σε πραγματικό χρόνο για το πώς χειρίζεται το τιμόνι, πόσο πάτησε το δεξί πεντάλ ή αυτό του φρένου, πόσο γρήγορα αντιλήφθηκε ένα άλλο όχημα ή έναν πεζό κ.λπ.
Σύμφωνα με τα στελέχη της General Motors, η πατέντα δεν έχει στόχο να αντικαταστήσει τους επαγγελματίες εκπαιδευτές οδηγών αλλά να προετοιμάσει τους υποψήφιους οδηγούς για το μέλλον των οχημάτων το οποίο φαίνεται να περιλαμβάνει την αυτόνομη οδήγηση. Δηλαδή να διατηρήσει την ιδιότητα του οδηγού και να μην τον μετατρέψει και αυτόν σε επιβάτη, μόνο.




ΔΗΜΟΦΙΛΗ