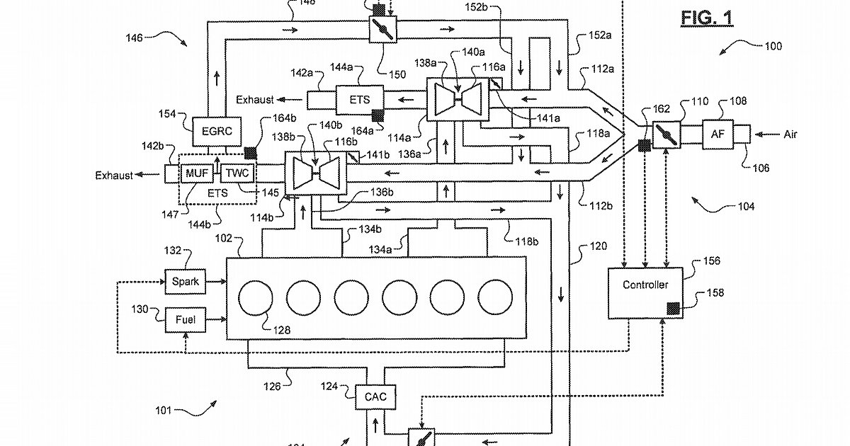
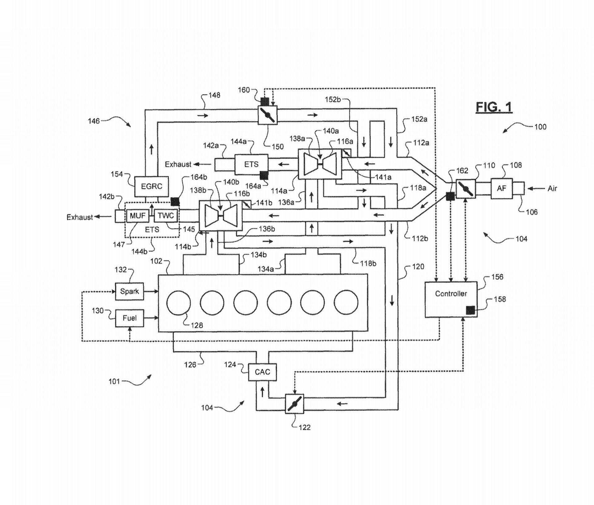
Σύμφωνα με τις πληροφορίες που έγιναν γνωστές, ο καινούργιος εξακύλινδρος σε σειρά κινητήρας έχει την κωδική ονομασία «GME-T6», από τη φράση «Global Medium Engine Turbo-6». Η Fiat Chrysler Automobiles κατέθεσε αίτηση Αμερικανικό Γραφείο Πατεντών και Εμπορικών Σημάτων για να πάρει το σχετικό δίπλωμα ευρεσιτεχνίας την 1η Νοεμβρίου 2017 και οι άνθρωποι του Γραφείο την εξέτασαν στις 2 Απριλίου εφέτος.
Στα κατατεθειμένα σχέδια φαίνεται ένας κινητήρας ο οποίος είναι ίδιος με τον «GME-T4» (που χρησιμοποιείται στις Alfa Romeo Giulia και Stelvio, καθώς και στα Jeep Cherokee, Wrangler και Grand Commander) αλλά έχει δύο κυλίνδρους επιπλέον.
Σύμφωνα με όσα έχουν γίνει γνωστά, ο κινητήρας αυτός θα μπορεί να αποδίδει από 360 PS έως 500 PS και αναμένεται να αντικαταστήσει μεγάλους κινητήρες στα αμερικανικά μοντέλα, στο μέλλον. Επίσης, υπό το πρίσμα της πρόσφατης συγχώνευσης της FCA με τον Όμιλο PSA, ο συγκεκριμένος κινητήρας θα μπορεί να χρησιμοποιηθεί και στα μεγάλα μοντέλα που θα εξελίσσουν και θα κατασκευάσουν οι δύο Όμιλοι τα προσεχή χρόνια.




ΔΗΜΟΦΙΛΗ
_77761_471003_type13129.jpg)



_77761_477671_type13129.jpg)
