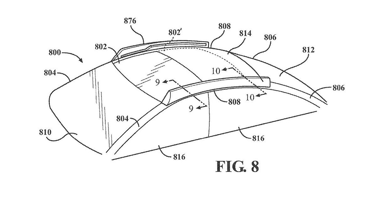
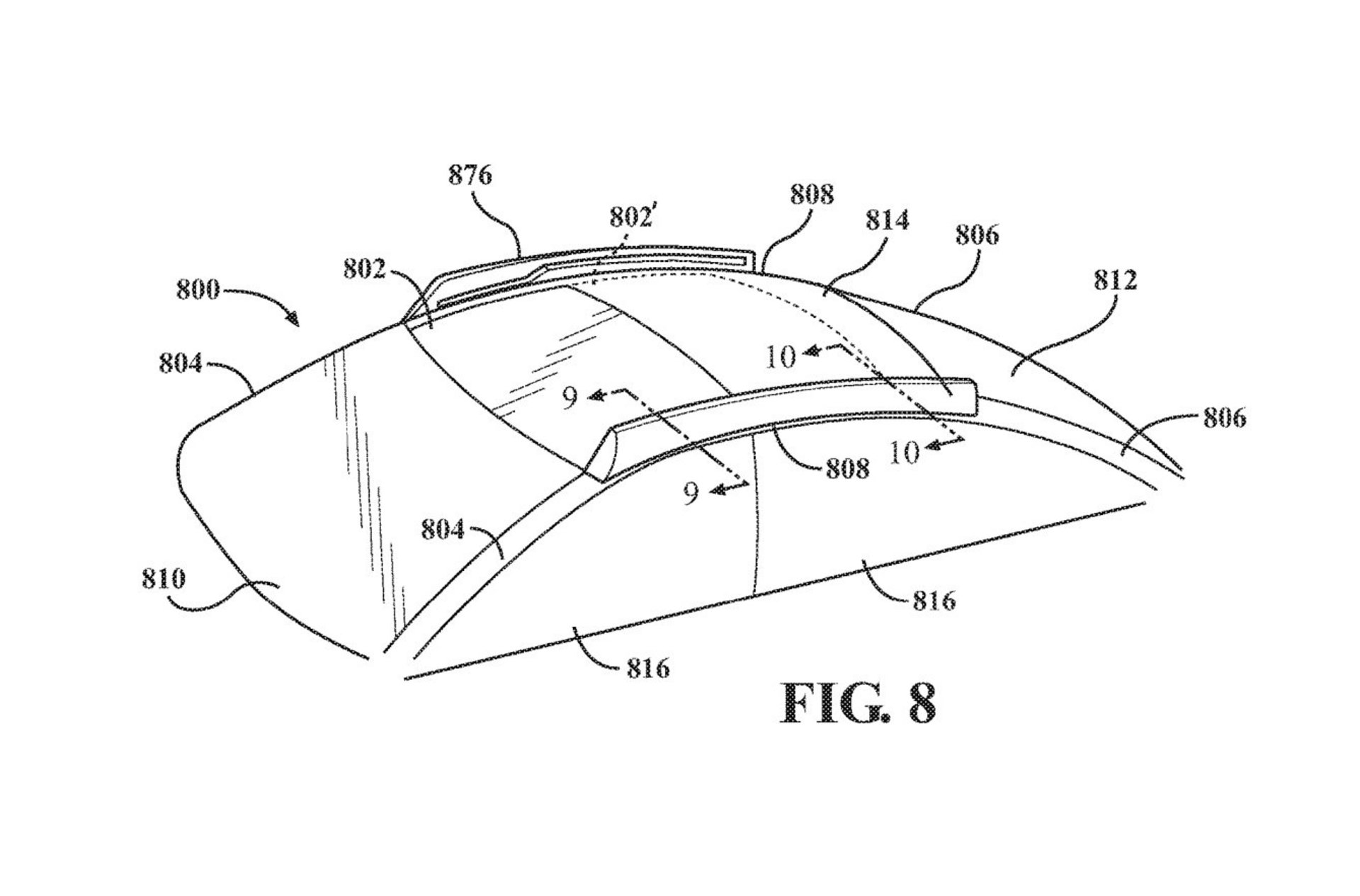
Μπορεί η Apple να μην ανακοινώνει τίποτα σε σχέση με το ηλεκτρικό αυτοκίνητο το οποίο ετοιμάζει, ωστόσο στο παρασκήνιο γίνονται… πραγματάκια και κάποια από αυτά βλέπουν το φως της δημοσιότητας. Ένα από αυτά ήταν και η πατέντα που κατέθεσε στις ΗΠΑ και αφορά την ηλιοροφή ενός αυτοκινήτου στην οποία ο οδηγός θα έχει τη δυνατότητα να ρυθμίζει το επίπεδο του φωτός που θα μπαίνει στην καμπίνα των επιβατών.
Προφανώς αυτή η εξέλιξη δεν σημαίνει ότι η Apple εργάζεται πυρετωδώς για το επερχόμενο ηλεκτρικό μοντέλο, αφού μπορεί κάλλιστα να «πατάει» πάνω σε μία στρατηγική κατά την οποία θα αναπτύσσει τεχνολογίες και στη συνέχεια θα τις πουλάει σε άλλες εταιρείες. Πάντως, ηλιοροφή σε κινητά τηλέφωνα δεν έχουμε δει ακόμα και λογικά θα αργήσει να έρθει αυτή τη στιγμή,…
Παράλληλα υπάρχουν δημοσιεύματα που αναφέρουν ότι η αμερικανική εταιρεία αναπτύσσει πυρετωδώς το «Project Titan» του πρώτου EV που θα κοσμείται με το δαγκωμένο μήλο και το οποίο θα παρουσιαστεί το 2025 έχοντας τη δυνατότητα να κινηθεί πλήρως αυτόνομα.
Οι ίδιες πηγές αναφέρουν πως η Apple το τελευταίo διάστημα βρίσκεται σε αλλεπάλληλες επαφές με προμηθευτές, συζητώντας για σημαντικά κομμάτια της ηλεκτρικής πρότασης, μεταξύ των οποίων είναι και οι μπαταρίες, ενώ στο «παιχνίδι» ακούγεται ότι θα εμπλακούν τόσο η Magna όσο και η LG.





ΔΗΜΟΦΙΛΗ