Στη λειτουργία ενός ηλεκτρικού αυτοκινήτου, το χειροκίνητο κιβώτιο ταχυτήτων που μάς συνόδευσε όλες αυτές τις δεκαετίες, δεν έχει καμία απολύτως θέση. Αυτή η εξέλιξη έχει σκορπίσει απογοήτευση στους φανατικούς των "manuals", οι οποίοι βλέπουν ένα από τα πιο «διασκεδαστικά» κομμάτια της οδήγησης να οδεύει προς εξαφάνιση. Η απογοήτευσή τους έχει εκφραστεί, κυρίως, μέσω ενός hashtag (#savethemanuals) που κυκλοφορεί στα social media και φιλοξενεί χιλιάδες αναρτήσεις οδηγών.
Πριν από λίγες ημέρες έγινε γνωστό πως η Ford σχεδιάζει ένα νέο χειροκίνητο κιβώτιο το οποίο δεν θα έχει συμπλέκτη. Αυτή τη φορά όμως ήταν η σειρά της Toyota για να παρουσιάσει κάτι... επαναστατικό.
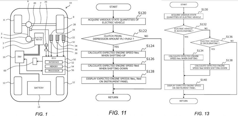
Όπως αποκάλυψε το BZ Forums οι Ιάπωνες κατέθεσαν πατέντα (με αριθμό 20220041155A1) μέσα από την οποία περιγράφεται η λειτουργία ενός χειροκίνητου κιβώτιου ταχυτήτων το οποίο προορίζεται για τα ηλεκτρικά αυτοκίνητα και δεν έχει καμία σχέση με το «κιβώτιο» των 2 σχέσεων που έχουμε ήδη στην Porsche Taycan Turbo S.
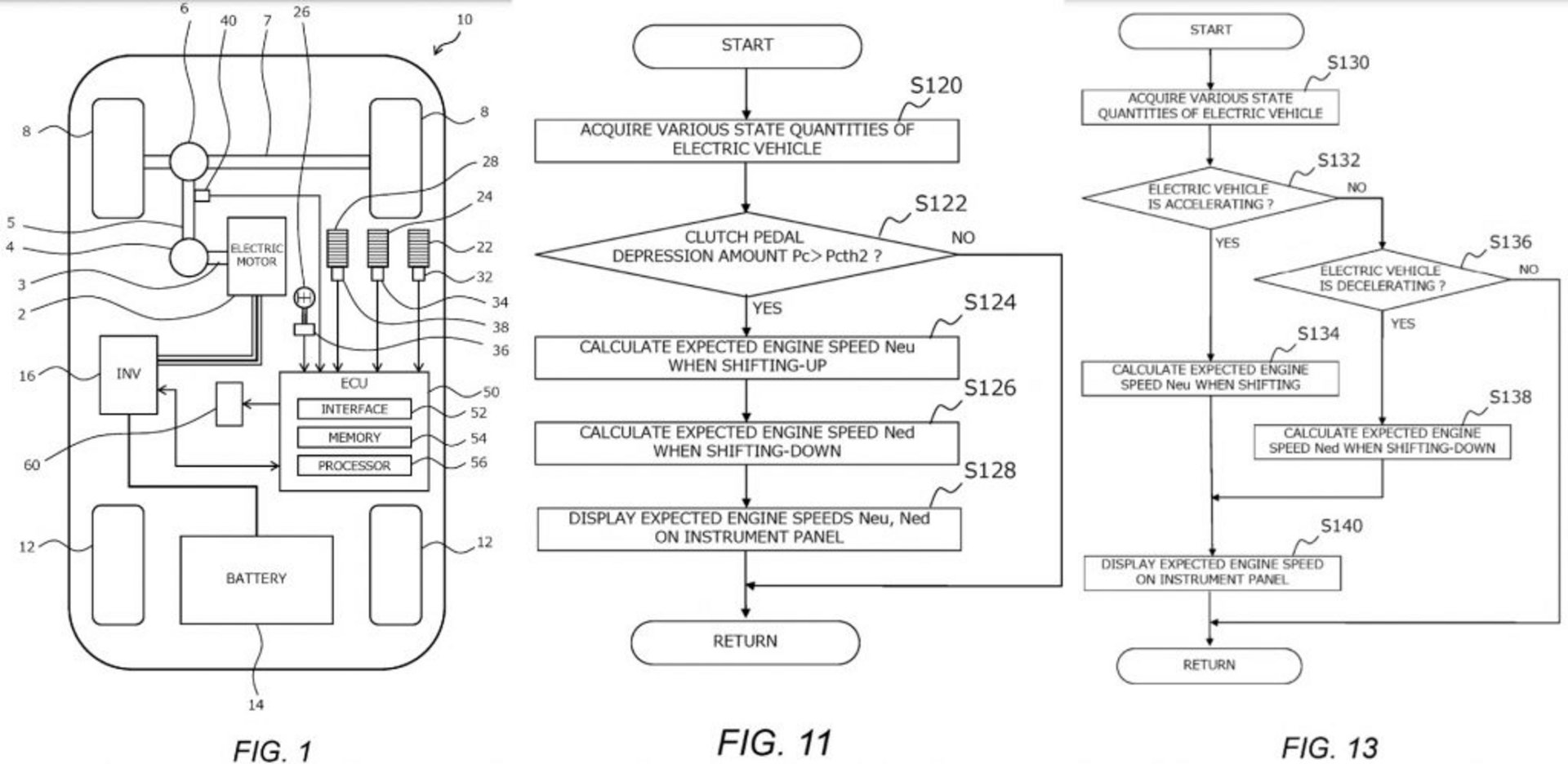
Η Toyota παρουσιάζει κάτι που θέλει να μοιάζει με «κιβώτιο», έχει έξι σχέσεις και η δουλειά του είναι να προσαρμόζει τη δύναμη του ηλεκτροκινήτηρα στη σχέση που έχει επιλέξει ο οδηγός, βάζοντάς τον περισσότερο στο «παιχνίδι» ή απλά δίνοντάς του την "ψευδαίσθηση" ότι συμμετέχει.
Την ίδια στιγμή στα σχέδια εμφανίζεται και ένας "ψευτοσυμπλέκτης" ενώ στον πίνακα των οργάνων υπάρχει και στροφόμετρο! Κάποιοι πιστεύουν πως μία τέτοια ενέργεια καταργεί ένα από τα βασικά πλεονεκτήματα των ηλεκτρικών αυτοκινήτων που είναι η ακαριαία επιτάχυνση κάθε φορά που ο οδηγός πατάει το γκάζι.
Πάντως, μέχρι στιγμής, δεν έχει γίνει γνωστό αν η πατέντα θα εφαρμοστεί σύντομα σε κάποιο όχημα της ιαπωνικής φίρμας. Το σίγουρο είναι ο μοναδικός στόχος είναι η βελτίωση της οδηγικής εμπειρίας ενός ηλεκτρικού αυτοκινήτου. Το αν θα το καταφέρει είναι κάτι που θα το μάθουμε στην πράξη.




_77761_403753_type12133.jpg)

ΔΗΜΟΦΙΛΗ





_77761_470067_type13129.jpg)