Όλες οι αυτοκινητοβιομηχανίες πασχίζουν να βρουν τρόπους για να κάνουν τα μελλοντικά τους EV πιο ευφάνταστα και -αν μη τι άλλο- ξεχωριστά. Στην εποχή του μαζικού εξηλεκτρισμού, δε φτάνει μόνο μια μπαταρία κι ένας ηλεκτροκινητήρας, για να γνωρίσει ένα ηλεκτρικό όχημα την επιτυχία.
Τώρα, μέχρι κι η Ferrari μπαίνει στο «χορό», υποβάλλοντας την πατέντα ενός νέου EV, το οποίο φέρει τεχνολογία που θυμίζει πολύ τους «πυραύλους» που σκοπεύει να τοποθετήσει ο Elon Musk στην επόμενη γενιά του πολυαναμενόμενου Tesla Roadster.
Ο ίδιος Elon Musk μάλιστα, έχει υπαινιχθεί ότι το Roadster θα έχει τη δυνατότητα να «πετάει» λίγο, χρησιμοποιώντας τους προωθητήρες που θα φέρει στο πίσω μέρος του. Δεν πρόκειται για ένα ιπτάμενο όχημα, όμως θα διαθέτει ένα σύστημα συμπιεσμένου αέρα που θα βελτιώνει και αυξάνει τις επιδόσεις του οχήματος.
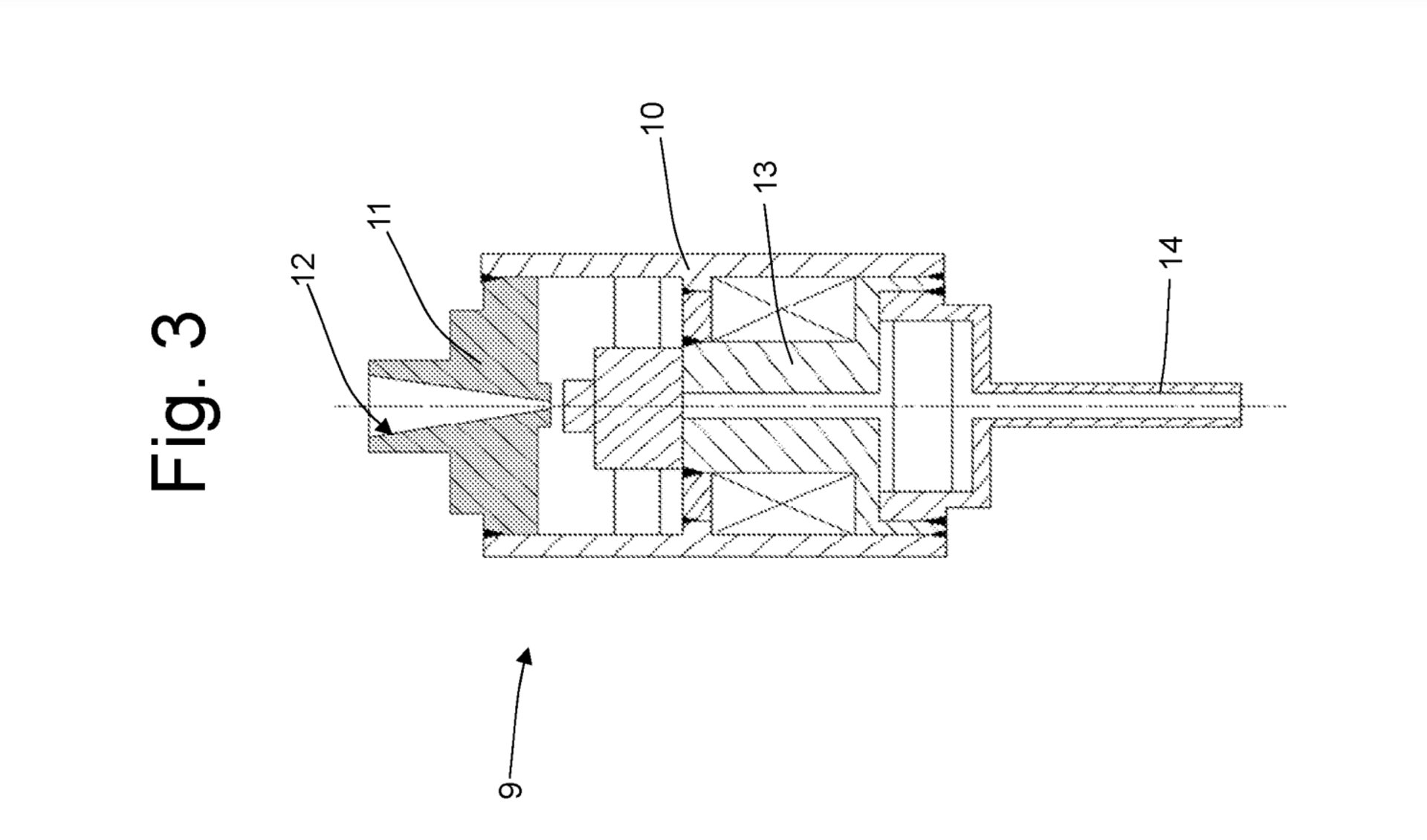
Μία παρόμοια πατέντα τηςFerrari ήρθε στην επιφάνεια μέσω της ιστοσελίδας του Γραφείου Πατεντών και Πνευματικών Δικαιωμάτων των ΗΠΑ, η οποία αναφέρεται σε ένα «Αυτοκίνητο Υψηλών Επιδόσεων με Προωθητήρες Αερίου.» Οι Ιταλοί θέλουν να κατασκευάσουν ένα αυτοκίνητο που μοιάζει πολύ με το πακέτο SpaceX του Roadster της Tesla, χρησιμοποιώντας προωθητήρες αερίου που θα προσφέρουν επιπλέον επιτάχυνση στο όχημα.
Η συγκεκριμένη τεχνολογία θα βοηθά επίσης στην πέδηση και τον χειρισμό του μοντέλου, ενώ η Ferrari θα χρησιμοποιήσει φιάλες αερίουήτεχνολογία υγραερίου στο μπροστινό, το πίσω, και τα πλαϊνά μέρη του οχήματος για τη λειτουργία του συστήματος.
Ένα μέρος της πατέντας αναφέρει τα παρακάτω: «...τουλάχιστον μία φιάλη συμπιεσμένου αερίου και τουλάχιστον ένας προωθητήρας αερίου, ο οποίος είναι συνδεδεμένος με τη φιάλη, είναι ενσωματωμένος στο πλαίσιο του οχήματος και έχει μία πληθώρα από ακροφύσια, τα οποία κοιτούν προς τα έξω, μπορεί να ενεργοποιηθεί προκειμένου να παράγει πίδακες αερίου, είναι τοποθετημένα παράλληλα και δίπλα το ένα στο άλλο, έχουν την ίδια κατεύθυνση και έχουν μεγέθη προκειμένου οι διαφορετικές ωθήσεις να παράγουν την ίδια πίεση»
Σύμφωνα με την πατέντα, το σύστημα θα μπορεί να ξαναγεμίζει τους συμπιεστές με τη βοήθεια ενός συστήματος που θα είναι τοποθετημένο στα φρένα του αυτοκινήτου.



_77761_377790_type13028.jpg)


ΔΗΜΟΦΙΛΗ
_77761_456613_type13129.jpg)

_77761_467618_type13129.jpg)


